The long charging time, low vehicle utilization efficiency, and charging safety of electric vehicles have long been bottlenecks in the development of the electric vehicle industry. During the charging process of electric vehicles, due to the limitations of battery charging performance, the charging requirements such as charging time, charging efficiency, and charging capacity are contradictory and cannot be optimized simultaneously. In order to improve the comprehensive charging performance of batteries, it is necessary to adjust the charging strategy according to the charging needs.
The lithium-ion power battery system mainly adopts the traditional constant current and constant voltage (CC-CV) charging method. This method is simple, versatile, and does not require an accurate lithium battery model, and is widely used in electric vehicle charging control [3-4]. However, the traditional CC-CV charging method still needs improvement in terms of battery charging time, cycle life, and charging capacity [4]. This article introduces the current status of CC-CV charging technology and its optimization methods through relevant searches, providing reference for improving charging speed in practical applications.
The influencing factors of constant current and constant voltage charging method
1.1 Characteristics of constant current and voltage charging
The CC-CV charging method includes constant current charging process and constant voltage charging process [4]. The constant current charging process refers to the process where the charging current remains constant and the voltage gradually increases. When the preset cut-off voltage or state of charge (SOC) is reached, the constant current charging process ends; Constant voltage charging refers to the process where the charging voltage remains constant and the charging current gradually decreases. When the preset cut-off current or SOC is reached, the constant voltage charging process ends. The current voltage variation curve of the constant current and constant voltage charging method is shown in Figure 1 [4].

Figure 1 Current voltage variation curve during CC-CV charging process
Constant current and constant voltage charging combines the advantages of both constant voltage charging and constant current charging. Taking lithium iron phosphate batteries as an example, when the voltage of a single battery is below 3.65 V, constant current charging is used to ensure that the charging current does not exceed the limit value; When the voltage of a single battery reaches 3.65 V, a constant voltage charging method is used to limit the battery from overcharging, which not only ensures charging safety but also allows the battery to be fully charged.
The main factors affecting charging time include charging current, temperature, internal resistance, etc. The charging current has a significant impact on the charging speed of the battery. In practical engineering applications, the constant current charging stage of CC-CV mainly uses increasing the charging current to shorten the charging time. However, increasing the charging current will bring a series of problems such as increased temperature of the battery and its components, shortened cycle life, low temperature lithium evolution, and increased risk of high-temperature thermal runaway.
1.2 The impact of maximum acceptable current on charging time
When the charging current is too high, lithium ions do not embed into graphite but combine with electrons, reducing to form dendritic metallic lithium on the negative electrode surface of the battery cell. The growth of lithium dendrites can lead to electrode and electrolyte instability during the cycling process of the battery, continuously consuming the electrolyte and causing irreversible deposition of metallic lithium, thereby reducing the Coulombic efficiency of the battery. This phenomenon that leads to irreversible deposition of metallic lithium is called lithium deposition [6-7], also known as lithium precipitation. The formation of lithium dendrites can even puncture the separator, causing internal short circuits in lithium-ion batteries, leading to thermal runaway and combustion explosions.
1.3 The influence of temperature on charging time
The charging characteristics of batteries are sensitive to changes in environmental temperature. Especially at low temperatures, the electrochemical reaction rate decreases and the number of lithium ions participating in the reaction decreases, resulting in an increase in charging resistance, a decrease in charging capacity, and even the formation of lithium dendrites, causing internal short circuits and threatening the safety of electric vehicle use. In practical applications, lithium batteries need to be heated to a more suitable temperature for charging, and the longer the heating time, the longer the charging time. Charging at high temperatures poses a risk of thermal runaway. To prevent the battery temperature from being too high, lowering the charging current can lower the battery temperature, but it will cause longer charging time.
1.4 The influence of internal resistance on charging time
The internal resistance of lithium batteries varies with factors such as SOC and ambient temperature. The Ohmic internal resistance at different temperatures is shown in Figure 2: in the low SOC range of 0% to 20%, the lower the SOC, the greater the resistance of lithium ion movement, and the corresponding Ohmic internal resistance is; During the 40% to 100% SOC stage, the internal resistance of the battery remains basically unchanged; At the same SOC, the lower the temperature, the poorer the electrode activity, the slower the diffusion speed of lithium ions, and the greater the Ohmic internal resistance [8]. An increase in internal resistance will lead to an increase in polarization voltage during the charging and discharging process of lithium batteries, affecting charging energy. Meanwhile, there are differences in battery parameters within the same batch, which can also affect the charging speed of the battery system.

Figure 2 Ohmic internal resistance of lithium batteries at different temperatures
Optimization of Charging Strategy for 2 Constant Current Processes
2.1 Optimization of maximum acceptable current based on lithium deposition mechanism
Reference [6] derived a method for calculating the maximum acceptable charging current of lithium-ion batteries based on the lithium deposition mechanism, providing theoretical and experimental support for achieving safe charging of lithium-ion batteries. If the charging current is higher than the maximum acceptable charging current, lithium deposition will occur; On the contrary, lithium deposition will not occur. Therefore, using the maximum acceptable charging current for charging can achieve the shortest charging time.
The key parameters for obtaining the maximum acceptable charging current are the anode equilibrium potential and anode charge transfer resistance. The anode equilibrium potential is obtained based on the SOC-OCV relationship; The anode charge transfer resistance is related to the activation potential and Faraday current, and can be accurately derived based on the Butler Volmer equation (BVE). The optimal charging current was obtained based on the anode equilibrium potential and anode charge transfer resistance, and the feasibility of the optimal charging current theory was verified through experiments.
As the battery life prolongs, the internal resistance constantly changes. By reserving a safety margin for the threshold potential, the safety of the battery charging process is ensured. The comparison of charging states under different threshold potentials is shown in Table 1 [6]. By studying the relationship between the charging current of lithium-ion batteries and the overpotential of lithium deposition, the optimal charging current was obtained, ensuring the maximum acceptable current in the absence of lithium deposition.

Table 1 Comparison of charging states under different threshold potentials
2.2 Optimization of charging objectives based on MOGWO
Reference [9] proposes a multi-objective optimization charging framework for lithium-ion batteries based on the equivalent circuit model, thermal model, and aging semi empirical model, with charging time, health loss, and battery temperature rise as the objective functions for charging. Based on a multi-stage charging optimization strategy, assuming the number of charging stages is M, the charging current sequence I=[I1, I2,..., IM], and the charging time T=[t1, t2,..., tM], the multi-objective charging constructor is as follows:
In the formula, Jt represents the objective function of charging time; Jte represents the objective function of average temperature rise during battery charging process; Jl represents the objective function of battery attenuation; FI represents the available lithium loss rate of the battery; Fp represents the loss rate of positive electrode active material in the battery; Fn represents the loss rate of negative electrode active material in the battery; Q0 represents the initial capacity of the battery; M represents the number of charging stages; Ik and tk represent the charging current and time of the k-th charging stage, respectively; Ui and Us represent the lower and upper limits of voltage, respectively; Ii and Is represent the lower and upper limits of the charging current, respectively; Ti and Ts represent the lower and upper limits of battery temperature, respectively; SOCi and SOCs represent the lower and upper limits of the battery's state of charge, respectively.
Reference [9] uses multi-objective grey wolf optimization (MOGWO) algorithm to achieve charging objective optimization solution, displays the optimized multi-objective optimal solution, and analyzes the performance of different bound solutions. The simulation results show that there is a contradictory relationship between charging time, health loss, and battery temperature rise. A shorter charging time means a larger average current, which will lead to a faster battery heating rate and more severe capacity degradation.
Optimization of Charging Strategy for 3 Constant Voltage Processes
3.1 Charging Optimization Based on FC-ASCC
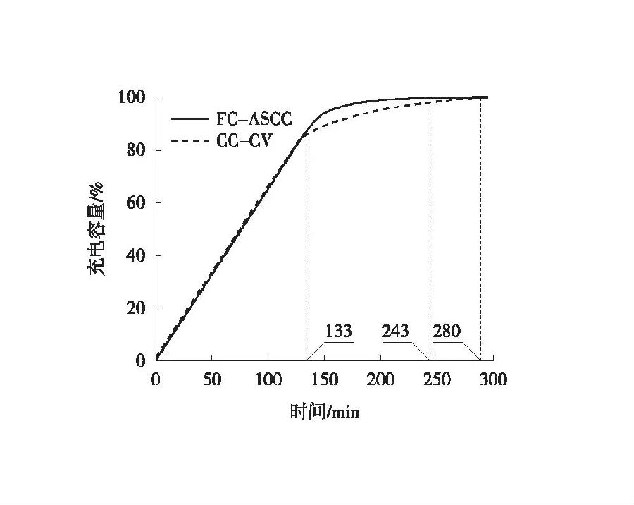
In the traditional CC-CV charging process, the constant current stage takes 25% to 40% of the total time and can charge 75% to 80% of the total capacity; The charging efficiency in the constant voltage stage is relatively low, and the improvement of the CV section has become the focus of optimization [10]. Reference [10] designed an active charging state controller (FC-ASCC) based on fuzzy control to replace the traditional constant voltage charging process, as shown in Figure 3. At the safe boundary of charging state, FC-ASCC is established based on the perception mode (SM) and charging mode (CM). FC-ASCC provides suitable charging current for the battery and improves charging speed through current self optimization method. The comparison of charging data between FC-ASCC optimization technology and traditional CC-CV method is shown in Figure 4. As shown in Figure 4, compared to the traditional CC-CV charging method, the FC-ASCC charging optimization technology reduces the charging time by 23% [10].

Figure 3 Principle of FC-ASCC Composition

(a) Charging current

(b) Charging Capacity Figure 4 Comparison of FC-ASCC Technology and CC-CV Charging Data
3.2 Polarization voltage optimization technology
There is polarization phenomenon in lithium batteries during the charging and discharging process, which is closely related to the charging efficiency of the battery. When the battery is charged at a high rate, the polarization voltage increases, and the battery quickly reaches the cut-off voltage, causing an increase in the charging time during the constant voltage stage, resulting in a longer entire charging process time [11-15]. Therefore, the optimization strategy of battery charging polarization voltage is also an important research direction for improving charging rate. Reference [15] analyzed the polarization voltage characteristics of lithium-ion batteries under different rate conditions, indicating that the polarization voltage exhibits a bowl shaped shape with high, medium, and low values at both ends in the range of 0-100% SOC. In the middle SOC range, the steady-state polarization voltage is approximately linearly related to the charging rate; Taking advantage of the hysteresis and overshoot effects of polarization voltage, a charging boundary current curve based on time constant is proposed, and corresponding optimized charging strategies are formulated; Under the premise of controlling similar charging polarization levels, optimizing the charging strategy based on polarization voltage characteristics can increase the charging rate by 24% and shorten the charging time by 18% compared to 0.5C CC-CV charging [15].
3.3 Multi objective charging strategy based on MOPSO algorithm
Reference [2] proposes a multi-objective charging strategy based on multi-objective particle swarm optimization algorithm (MOPSO) based on multi-objective optimization theory. Using a voltage based multi-stage charging control method, the charging strategies for 3, 5, and 7 stages were studied. According to the Pareto solution set, when the charging order increases from 3 to 5, the optimization of charging time is more significant; When the number of charging stages increases from 5 to 7, the optimization of charging time is not significant. Therefore, in practical applications, the final number of charging stages selected is mostly 5.
Based on multi-objective and optimized multi-stage charging, compared with constant current and constant voltage charging, the first stage charging current of multi-stage charging is higher than the constant current value of constant current and constant voltage charging, while the charging current of stages 2-4 is significantly reduced, lower than the current value of constant voltage stage of constant current and constant voltage charging; Due to the higher current value of multi-stage charging, its charging voltage is slightly higher than that of constant current and constant voltage charging. The comparison between multi-objective charging strategy and constant current and constant voltage charging data is shown in Table 2 [2].

Table 2 Comparison of Charging Time, Charging Capacity, and Battery Temperature Rise
According to Table 2, the charging time of the multi-objective optimized multi-stage charging strategy is 6.6% shorter than that of traditional constant current and constant voltage charging, and the maximum battery temperature rise is reduced by 2.6%. Compared to constant current and constant voltage charging, multi-stage charging has a certain improvement in charging time and maximum battery temperature rise, which verifies the superiority of multi-stage constant current charging strategy.
3.4 Adaptive Multi stage Constant Current Charging Strategy
Based on the first-order RC equivalent circuit model, thermal network model, and aging model, reference [8] established a SOC-SOH-SOT multi-state joint estimation model for lithium batteries to simulate the response characteristics of lithium batteries. A current order adaptive multi-stage constant current charging strategy (SMCC) was proposed, and the particle swarm optimization (PSO) algorithm was used to solve the optimal charging strategy under different weight coefficients. Three optimal charging strategies were obtained: the shortest time charging strategy, the minimum aging charging strategy, and the balanced charging strategy.
The research results indicate that the charging strategy that only pursues the shortest charging time without considering the aging loss of the battery is equivalent to the charging time of the 2C CC-CV strategy, and the charging time is 44.98% shorter than that of the 1C CC-CV strategy (see Table 3 [8]); The charging time of the minimum aging charging strategy is 61.7% shorter than that of the 0.1C CC-CV strategy, and the aging loss of a single charge is only 0.839%, which is 2.81 times longer than that of the 1C CC-CV strategy; Compared with the 0.5C CC-CV strategy, the balanced charging strategy that considers both charging time and battery life reduces charging time by 44.9% while increasing aging loss by 6.4%. Compared with the 1C CC-CV strategy, the charging time is extended by 9.8%. In pursuit of fast and healthy charging methods, the balanced charging strategy has great advantages.

Table 3 Comparison of charging time and temperature rise for different charging methods
4 Conclusion
At present, the optimization of charging technology for lithium batteries mainly includes two aspects: first, constant current charging stage optimization, maximum acceptable current optimization based on lithium deposition mechanism and phased constant current charging, as well as multi-objective optimization charging under different working conditions based on mathematical models, to improve the charging efficiency in the constant current stage and meet the demand for short-term rapid charging of the entire vehicle; The second is the optimization of the constant voltage charging stage, which replaces the constant voltage charging stage through charging current optimization, and the multi-stage constant current charging based on adaptive algorithms replaces the traditional constant current and constant voltage charging scheme, optimizing the charging end time, shortening the charging time, and improving customer satisfaction.